The following article by Charles W. Gadd is from the March, 1998, issue of the Bulletin. Charles Gadd has been a member of our Association since 1972 and has contributed a number of articles to this and to other journals. He is a retired engineer from General Motors, who was involved in the development of many automotive safety features.
Following are some views of mine regarding the question of whether
the Old Masters bent their violin tops, as opposed
to carving them. 
I think that the most definitive way to determine whether old
masters bent their tops, would be, for persons repairing cracks
in the tops, to photograph the raw edges of two or three of them.
The crack should not be along the center joint, but in the virgin
wood to one side.
The crack would need
to begin at the upper or lower edge of the top and extend about
three inches or more in length, so that when one side is pried
up (and, the other side down) carefully, one of the raw edges
(fig. 1) could be photographed in the zone of maximum slant of
the arching. Lighting should be approximately at right angles
to the overall plate surface and at a grazing or acute angle with
respect to the crack surface, so that the texture of the latter
would be emphasized. A crack occurs between the annular or grain
lines, and the photo would not show one of these; but instead
would show the very slight ridges or channels parallel to the
wood cells. If a plate was carved, this striated texture will
parallel the upper surface of the rib assembly or garland, and
run out just as the wood cells run out
where longitudinal arching slants. On the other hand if the striations
follow the slant of the arching, it is a tip-off that the top
has been bent.
If photographs as described above do indeed indicate that the tops were bent, the photos should by all means be published somewhere. This would constitute proper documentation of the results.
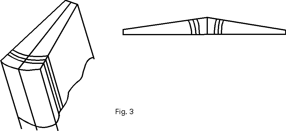
Another approach would be to note the degree to which the annular
rings, as seen edgewise at the upper end of the f holes, (fig.
2), tilt outward, following the marked lateral bend of the top
here, if it has been bent. This is not as clear a proof that the
top has been bent as is the method described above, however. This
is because the annular rings of a two-piece top which is to be
carved to shape already have some outward tilt (as shown in fig.
3). 
Finally, related to this is a suggestion which has been made, that if one looks down vertically on a bent top, the annular rings will have a slight curvature as shown (exaggerated) (fig. 4). The difficulty here is that carved two-piece tops may also show, some similar curvature since the annular rings tilt outward as shown in fig. 3. This results because outward tilt of the rings is maximum at the area of greatest arch height. I have seen such curvature of the annular rings of some carved tops.
All Bulletin articles are copyrighted ©1997 by the Southern California Association of Violin Makers. Contact Bulletin editor John Gilson, at the address given on our home page, for permission to reproduce Bulletin material.